О предприятии
Новости
Научная деятельность
Продукция
Услуги
Осаждение металлов
Механообработка
Аренда
Вакансии
Одно окно
Контакты
НАЗНАЧЕНИЕ
Датчик предназначен для измерения углов наклона в двух плоскостях, преобразования результатов измерений в цифровой код и выдачи его внешнему устройству по CAN-интерфейсу.
ОБЛАСТЬ ПРИМЕНЕНИЯ
Системы горизонтирования и ориентации объектов в пространстве.
ТЕХНИЧЕСКИЕ ХАРАКТЕРИСТИКИ
| Наименование характеристики | Значение |
Линейная зависимость измеряемых значений от углов наклона
|
-150...0...+150 -150...0...+150 |
| Допустимая погрешность измерения угла наклона в диапазоне измерений от -150 до +150, не более | ±0,25 |
| Интерфейс передачи данных | CAN 2.0 A/B |
| Питающее напряжение | 18...36 В |
| Диапазон предельных температур, °С | -500... +850 |
| Диапазон температур окружающей среды, °С | -400... +700 |
| Степень защиты |
IP54 |
| Масса, г | |
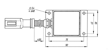
| Габаритные размеры, мм | 90х58х36 |
КОНСТРУКТИВНЫЕ ОСОБЕННОСТИ
1. Изделие имеет пылевлагозащитный разъем и кабель для автомобильного применения. Кабель может иметь дополнительную защиту (например, гофрорукав).
!! Тип выходного разъема может быть изменен по согласованию с заказчиком.
2. Имеет защиту от включения питания неверной полярности.
3. Наработка на отказ - не менее 12 тыс. моточасов.
4. Срок службы - не менее 10 лет
Присоединительные размеры
По вопросам приобретения обращайтесь в отдел маркетинга и сбыта:
